Back to Home Page of CD3WD Project or Back to list of CD3WD Publications

Bulk storage

Contents - Previous - Next

Definition

This method consists of storing unpackaged grain in structures built for this purpose (bins, silos).

The types of construction vary. There can be relatively simple low-capacity structures for storage of agricultural surpluses in production areas, or large complex installations for commercial or industrial storage of products.

In general, there are two categories of bulk-storage structures: low-capacity silos or bins for storage on the farm and high-capacity silos.

The latter, which are widely used in developed countries, are not yet very widespread in the developing countries.

Till now, inadequate or absent transport and marketing systems, lack of the necessary sizeable initial investments, and the complexity of big storage installations have limited their spread.

Low-capacity silos for farm storage

On-farm storage is the basic form of rural storage in many developing countries. involves only very small quantities of grain, mostly for home consumption.

There are several types of traditional storage structures, each adapted to the climate of the country. Their common feature is the use of locally available materials.

Some examples are the enclosed earthen granaries of the dry zones and the ventilated granaries made of plant fibre and wood that are used in humid zones.

In dry zones, the risks of stock degradation come mainly from insects and rodents, and they are generally lower than the risks in humid zones, where stocks are attached not only by these pests but also by moulds.

There are two possible approaches to lowering losses from pest attacks: improvements to traditional storage structures, and new structures built from non-traditional materials.

The first approach has produced improvements in the construction of earthen granaries (mixing small quantities of cement with the earth or careful finishing or smoothing of the silo walls).

Other more innovative experiments involve building small-capacity (1 to 2 tonnes) silos with bricks or breeze-blocks made of reinforced earth, or with mud or unbaked bricks.

The second approach has introduced new storage structures that generally require nontraditional materials and construction techniques.

Examples are silos made of concrete, reinforced concrete, or metal.

Of the concrete silos, the "Carreras" type, made of conglomerate, is cylindrical in shape and has a capacity of several tonnes.

Its originality lies in its use of curved breeze-blocks and the fact that its construction requires no framing.

Silos of reinforced concrete are built of a framework (skeleton) of metal screening filled with a cement mortar. This technique permits the easy construction of sturdy, high-capacity silos.

There are two types of metal silos:

In view of their low capacity, metal drums are best adapted to rural storage of seeds or of products that are difficult to store (e.g. beans).

As for bins, they must be considered as true farm-storage structures.

The security generally provided by these structures gives good protection against rodent attack as well as airtight storage of grain.

No matter what type of structure is used for storage, certain fundamental rules must be observed:

High-capacity silos

High-capacity silos are complex structures intended for the commercial or industrial storage of large quantities (several thousand tonnes).

Specialized builders offer various types of silos; two, in particular:

Vertical silos are made up of several sheet-metal or reinforced concrete storage bins stacked vertically. This category includes silos composed of: round bins made of flat or corrugated galvanized sheet metal; polygonal bins made of painted or galvanized metal panels; round bins made of reinforced concrete.

Horizontal silos are also made of sheet metal or concrete and are composed of juxtaposed square or rectangular bins laid horizontally.

The relatively common round metal bins require less investment and are easy to erect.

Polygonal bins are similar to round ones and their diameters are easily adjustable.

Round concrete bins guarantee good thermal insulation and permit much higher vertical stacking than can be obtained with metal bins.

Square or rectangular bins are generally flat-bottomed. They require a higher per quintal investment but make the best use of the available sites.

In order to avoid the disadvantages of a potential rise in temperature, and to guarantee good storage, storage bins are often equipped with ventilation systems backed up by temperature controls.

In terms of storage, these ventilation systems can have the following effects:

In addition, again in order to guarantee good conservation of grain, special airtight silos store the products in the absence of oxygen, in a confined or controlled atmosphere.

In the first case, the oxygen inside the silo is consumed by the natural "breathing" of the grain, and the insects and micro-organisms, and is simultaneously replaced by the carbon dioxide produced by this breathing.

In the second case, once the airtight silo has been closed, the internal atmosphere is replaced by the injection of inert gasses (nitrogen, carbon dioxide).

Despite the obvious advantages of these storage systems, airtight silos still have limited distribution because of their technological complexity especially for the high-capacity bins.

Equipping bulk-storage centres

Considering the large quantities to be managed, bulk-storage centres should not only have silos of adequate capacity but should also possess equipment that can ensure quick and easy execution of the operations of receiving, treating, storing, monitoring and discharging grain.

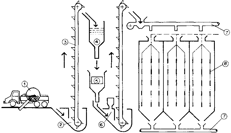
The following diagram shows how a bulk-storage centre operates.

Diagram of a bulk-storage centre: 1 Checking; 2 Hopper; 3 Vertical handling; 4 Cleaning; 5 Waighing; 6 Insecticide treatment; 7 Horizontal handling; 8 Temperature control.

Equipment is selected on the basis of various factors, including:

To ensure that storage centres operate smoothly, especially during stocking periods, particular attention must be given to the dimensions and type of equipment for receiving and handling the grain.

 

Receiving hopper

The receiving hopper is a concrete pit covered with a grating, into which the grain is poured on arrival at the storage centre.

It is at ground level, protected from rain, and so situated that transport vehicles can easily manoeuvre to reach it.

The hopper's capacity (that is, its inner volume) should be determined in consideration of the centre's storage capacity.

Indicatively, the following table shows the hopper volumes recommended in relation to various storage capacities.

STORAGE CAPACITY HOPPER VOLUME
1 000 q 8 m³ = 60 q
1 500 q 10 m³ = 75 q
2 000 q 13 m³ = 100 q
3 000 q 16 m³ = 120 q

The hopper's shape will depend on the system used to collect the grain. If the grain is collected by an auger, the hopper may be in the shape of an inverted pyramid with a square or rectangular base.

If, on the other hand, collection is by bucket elevators, the shape will still be an inverted pyramid, but the base will be rectangular, and the side next to the elevator vertical.

To ensure a smooth flow of grain, it is important to establish the exact dimensions of the hopper: length and width of the base, and depth.

SQUARE-BASED HOPPER WITH COLLECTION BY AUGER
SILO HOPPER
Storage capacity (q) Volume (m³) Length of base (m) Width of base (m) Depth (m)
1000 8 3.30 3.30 2.25
3000 16 4.00 4.00 3.00
RECTANGULAR-BASED HOPPER WITH COLLECTION BY AUGER
SILO HOPPER
Storage capacity (q) Volume (m³) Length of base (m) Width of base (m) Depth (m)
1 000 8 2.60 3.60 2.50
3 000 16 3.30 4.60 3.20

 

RECTANGULAR-BASED HOPPER WITH COLLECTION BY BUCKET ELEVATORS
SILO HOPPER
Storage capacity (q) Volume (m³) Length of base (m) Width of base (m) Depth (m)
1 000 8 4.00 2.00 3.00
1 500 10 4.50 2.25 3.15
2 000 13 4.80 2.40 3.40
3 000 16 5.20 2.60 3.60

The above tables give some examples of dimensions of pyramid-shaped reception hoppers.

In addition to pyramidal or conical hoppers, there are shallow V-shaped hoppers.

With them, grain is collected by horizontal chain- or belt-conveyors which run under the lower lip of the hopper.

 

Grain-handling equipment

Grain-handling means the actions of moving the grain, from the time of its reception into the storage system until its dispatch.

Some of the systems for unloading the hoppers have been mentioned above; they require special equipment for grain-handling. Now we shall discuss this equipment and its principal characteristics in greater detail.

There are four categories of motorized equipment for handling grains: augers, elevators, conveyors and pneumatic equipment.

Augers

These are helical screws (Archimedes' screws) rotated by a motor.

Depending on the dimensions of the auger and its method of use (horizontal, vertical or

In horizontal handling, "trough augers" are commonly used, and they are work-effective up to 45 percent of the section. In oblique or vertical handling, the trough is replaced by a steel tube, so that the screw-thread works over the whole section: these are called "tube augers".

If their diameters are equal, tube augers used horizontally can produce twice the output of trough augers.

For example, the average outputs of these two types of augers are said to be:

If their outputs are equal, the rotation speed of tube augers is double that of trough augers.

Tube augers are mobile and operate at any angle, whereas trough augers are generally stationary, bulkier, and cannot work at angles greater than 25°. It should be stressed, however, that in oblique handling at 45°, the tube auger's output is reduced by one-third, and at 90°, it is reduced by two-thirds.

Tube augers use 15 to 20 percent more power than trough augers.

For equivalent output, installing a tube auger costs 20 to 25 percent less than the price of installing a trough auger. In addition, if it is less than 30 m long and has an output under 30 t/h, its purchase price is relatively small.

Tube augers handle grain roughly, creating a greater risk of breakage and cracking of the grains than with the use of trough augers.

Both types of equipment have the disadvantage of being difficult to clean.

Some other types of augers are: sweep augers, used for the complete unloading of round flat-bottomed bins (output up to 20 t/h); total-discharge augers for unloading bins 8 to 15 m in diameter (output up to 50 t/h); and flexible-tube "Taupin" augers for unloading grain from hard-to-reach places.

Elevators

Bucket elevators are used for lifting (maximum incline of 10 degrees), and are composed of a conveyor belt equipped with buckets and stretched vertically between two pulleys.

Bucket elevators have the advantage of easy lifting to a great height (70 m). They use little energy, take up little space, and are moderately priced. This is a stationary piece of equipment, however, with a relatively high installation cost (for digging the ditch).

Other elevators that work faster or slower can be used, according to the specific weight and characteristics of the grain. Indicatively, their average speed is 2.5-3 m/s, allowing for continuous work, and their maximum speed is 6-8 m/s.

Finally, there are special elevators like the swing-tray elevator used for fragile products (e.g. groundnuts), and the floating elevator lightweight, inexpensive equipment with small outputs.

Bucket elevator: 1 Hopper; 2 Motor, 3 Buckets; 4 Strap.

Conveyor belts and chain conveyors

The conveyor belt consists of a belt made of tough rubber, moving on rollers and driven by a set of drums. It also has a feeding hopper and possibly a discharge cart for unloading.

The conveyor belt is used in handling many products, since the wide variety of its accessories can accomplish practically every type of transport: horizontal or oblique handling of products that are fragile or abrasive, hot or damp, or in bags.

This type of equipment also has the advantage of being able to achieve very high outputs (600 t/h) while consuming relatively little energy, especially in horizontal handling.

Furthermore, for the same output and length, the conveyor belt costs about 10 percent less than the auger.

It is often used in seed-treatment stations because it permits quick and complete unloading.

This equipment has the disadvantage of being very bulky, however, especially when it has a discharge cart; furthermore, it must be equipped with a covering for outdoor work, and its use creates a great deal of dust.

In addition to this standard model, there are special conveyor belts having "curbs", and some have belts running through tubes.

The chain conveyor consists of an endless chain with flat links equipped with crossbars. It moves horizontally in a rectangular bin, carrying the products at a speed that runs from 0.20 to 1 m/s.

This type of conveyor can be inclined at any angle. It is much less bulky and has an output equivalent to that of an auger or a conveyor belt.

It also consumes much less energy than does an auger with the same output, but two or three times as much as a conveyor belt or a bucket elevator.

Its outputs run from 20 to 200 t/h with little breakage of grains. Upkeep is simple, and its main advantage lies in the fact that it is totally enclosed and therefore airtight, giving off no dust. It can also be used outdoors.

In addition, it can be loaded or unloaded at different places on the conveyor. Its cost is relatively high, however, and the sections that run "empty" are very noisy.

There are also other kinds of chain conveyors (open-sided, or with cables).

 

Pneumatic equipment

In pneumatic handling the grain is transported by a current of compressed air circulating through a system of tubes fast enough to keep the grain moving along.

This type of handling requires a technical study for each installation taking into account: the size of the individual grains, their abrasiveness, compactness and compressibility, moisture content and temperature, and lastly fragility.

The advantages of these types of equipment are: flexibility, (the grain can be moved in almost any direction); big outputs (300 t/h maximum); little bulk.

On the other hand, they demand a great deal of energy (5 to 6 times as much as for mechanical conveyors) and, though their purchase price is very high, they wear out quickly.

Bulk storage management

Some of the rules given for bag storage can be applied, possibly with some modifications, to bulk storage.

What is specific to the management of bulk storage concerns ventilation.

 

Bins or silos without ventilation systems

Bulk storage of grain in unventilated silos is relatively simple and cheap but it seriously endangers the good product storage.

In fact, in such silos it is impossible effectively to control the phenomena of moisture transfer and condensation, which can take place during storage and which cause redampening of the grain and boost the growth of insects and micro-organisms.

Therefore the use of these silos is limited to areas with low relative air humidity, and to cases in which the bins are protected from variations in the outside temperature (as, for example, with concrete bins).

In the absence of a ventilation system, it is essential that the ensiloed grain be completely dry, clean, and treated with long-lasting insecticides.

In addition, it is necessary to equip the bins with suitable thermometric probes, which will permit constant monitoring of tile temperature of the grain.

During storage, the slightest anormal variation in temperature must be interpreted as a possible indication of degradation. If this is confirmed, the only possible means of intervention, to prevent the loss of the entire mass of grain, is to move the grain to another silo and give it a thorough cleaning, followed by insecticide treatment.

This requires transferring the contents of one silo into another clean, empty silo, thus permitting the grain to be ventilated and thoroughly mixed.

This operation results in extra costs and increases the risks of breakage of grain during later handling. It is a costly procedure, which is not recommended as a routine measure, but it is necessary when the state of conservation of the products seems doubtful.

 

Bins or silos with ventilation systems

Ventilation, or aeration, means the forced circulation of ambient air (or, more rarely, artificially cooled air) through a grain mass.

Inside silos, the air is circulated by blowers or aspirators, with ducts and shafts for air distribution.

Bulk storage of grain in silos equipped with ventilation systems ensures better product storage.

In fact, in addition to cooling the grain and keeping it at a sufficiently low temperature, the adoption and use of ventilation systems can also make possible slow and progressive drying of the stored products.

Thus, in a ventilated bin, grain is first fairly swiftly cooled to or slightly below air temperature. Later, under the effect of prolonged ventilation, the grain can also be dried, provided the air is sufficiently dry.

The exchanges of temperature and moisture in connection with the above are obviously governed by the laws of equilibrium between the air and the grain.

During ventilation, the first equilibrium - between the temperatures of grain and air - is rapidly established with relatively little need for air (800 to 1 500 m³ of air per m³ of grain).

On the other hand, the second equilibrium-between the moisture content of the grain and the relative humidity of the air-requires longer periods and more air (50 000 to 80 000 m³ of air per m³ of grain).

A grain mass undergoing ventilation is divided into three zones:

In the cooled zone, the lower layers of grain, closer to the air intake, are the most quickly and thoroughly cooled.

Immediately above that, a transition zone moves slowly in the direction of the air current. In this zone the grain is in the process of being cooled.

Finally, in the upper part of the bin is the zone to be cooled, where grain is still warm or slightly reheated.

Ventilation cannot be considered complete until the cooled zone has reached the top of the bin.

It should not be stopped until the upper layers have reached the same temperature as that of the lower layers, a temperature close to that of the ventilating air.

Diagram of a ventilated silo: 1 Drying air, 2 Cooled grain; 3 Grain being cooled; 4 Warm grain.

Ventilation must last long enough not to provoke excessive and prolonged heating of the upper layers of grain.

To cool a mass of grain, the temperature of the ventilating air must be 5°C to 7°C lower than that of the grain.

Differences greater than 8°C can cause condensation that could redampen the grain. Differences less than 3°C might not ensure the desired cooling.

It is evident that successful ventilation requires the monitoring of the temperatures of the air and especially of the grain with a suitable heat-measuring apparatus.

To obtain a drying effect, the relative humidity of the ventilating air must be lower than that of the grain equilibrium.

Especially with damp grain, it is advisable to start ventilation when filling of the bins begins; furthermore, the bins should not be filled all at once but, insofar as possible, in successive stages.

In addition, in order to avoid condensation, the exits for damp air must be left open and the extractors (provided to force out such air) turned on.

If the stored products are damp, ventilation must be continued until the grain has been stabilized.

Once the grain is stabilized, it can be ventilated at fairly regular intervals, in order to guarantee the good product storage.

It is therefore necessary to make frequent, regular checks of grain moisture and temperature. Any abrupt rise in temperature must be interpreted as a sign that degradation is in progress.

Accordingly, ventilation with air that is as dry and cold as possible should be considered necessary.

In conclusion, the many purposes of ventilation and the complexity of the processes associated with it require the presence of specialists, both in the research phase and in the management of the installations.


Contents - Previous - Next