Back to Home Page of CD3WD Project or Back to list of CD3WD Publications

CLOSE THIS BOOKEngines for Biogas (GTZ, 1988, 133 p.)
3. Essential theory on internal combustion engines
VIEW THE DOCUMENT3.1 Some Basic Definitions and Relations
VIEW THE DOCUMENT3.2. Variable Process Parameters
VIEW THE DOCUMENT3.3 Relevant Engine Types

Engines for Biogas (GTZ, 1988, 133 p.)

3. Essential theory on internal combustion engines

3.1 Some Basic Definitions and Relations

The very basic description of an engine and its way of functioning is assumed to be general knowledge for a mechanic, technician or a person willing to engage in the modification and operation of a biogas engine.

3.1.1 Engine Volumina, Vd, Vc, Vtot

The "displaced volume" of one cylinder Vd,c (1, cm³) is the volume displaced by the piston between its lowest position, the "bottom dead center", BDC, and its highest position, the "top dead center", TDC. The total displaced volume of a multicylinder engine, Vd,e , is the volume of one cylinder multiplied by the number of cylinders, i:

Vd,e = Vd,c·i (Equ. 3.1)


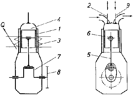
Fig.31:Principal scheme of a 4-stroke engine.1 piston, 2 inlet valve, 3 cylinder, 4 combustion chamber, 5 connection rod, 6 gudgeon pin, 7 crankshaft, 8 flywheel, Q head rejected (cooling).

The volume of the combustion or compression chamber Vc is the volume into which the air or an air/fuel mixture is compressed when the piston has reached TDC. The total cylinder volume Vtot is the sum of the displaced volume and the combustion chamber volume of one cylinder:

Vtot = Vd,c + Vc (Equ. 3.2)

3.1.2 Engine Speed, n

The engine speed describes the number of total (360°) revolutions of the crankshaft in a certain period of time, usually per one minute, i.e. 1/min or rpm.

3.1.3 Power, P

In most cases the power specified for an engine is the mechanical power, which is the mechanical energy (here "torque") transmitted by the crankshaft or flywheel within a certain period of time:

(Equ. 3.3)


Fig. 3.2: Engine power output P and torque T as a function of engine speed n: nr marks the rated speed.

With a change in engine speed, i.e. the time for one cycle, the power output of the engine changes also. The diagram in Fig. 3.2 demonstrates in principle the course of the torque (i.e. work) and power as a function of engine speed.

Heat energy, delivered by an engine through its exhaust and cooling water/air (normally 60-70%), is often wasted but may also be used for heating or process purposes especially in stationary engines (see Chapter 8 on "cogeneration").

3.1.4 Compression Ratio,ê

(Equ. 3.4)

The compression ratio gives the relation between the total cylinder volume at BDC (Vd,c + Vc) and the volume left for the compressed fuel/air mixture at TDC (Vc). The compression ratio should not be confused with the pressure rise during the compression stroke.

3.1.5 Isentropic Exponent, g

The isentropic exponent g is a specific constant of a gas or a gas mixture and is defined as

(Equ. 3 5)

The exponent describes the theoretical behavior of a perfect gas during a thermodynamic process, e.g. compression and expansion. The theoretical processes are however assumed to be reversible and adiabatic, i.e. have no losses or other influences from out" side, unlike natural processes.

3.1.6 Polytropic Exponent, n

A technical process like an engine process involves losses. heat transfer and other irreversibilities and cannot therefore be described by the isentropic exponent g. The polytropic exponent n is used instead. It is a function of the type of gas or gas mixture, the heat transfer from and to the cylinder walls, the mixture of fresh gas with the rest of the burnt gases, etc. Actual values for the polytropic exponent of air and air/fuel mixtures range from n = 1.30 . . .1.36.

3.1.7 Pressure after Compression, Pc (without ignition)

pc = ps·en (Equ 3.6)

The suction pressure Ps is the actual pressure in the cylinder at BDC and is not equivalent to the ambient pressure Pa due to pressure losses in carburetor throttle as well as the inlet channel and valve. As a mean value use

ps = 0.9·pa±0.05 bar

Example:
- For a direct injection diesel engine with
ê = 17, ps = 0.9 bar, n= 1.3
pc = ps · ên
pc = 0.9·171.3 = 35.8 bar

- For a standard Otto engine with ê = 8.5,

ps = 0.9 bar, n = 1.35
pc = 0.9·8.51.35 = 14.9 bar

3.1.8 Temperature as a Result of Compression,Tc¹ (without ignition)

Tc = Ts· ên-1 (Equ 3 7)

The suction temperature Ts is not equivalent to ambient temperatures, usually near 293 K (20 °C). The temperature of the air or air/ fuel mixture rises as a result of heat transfer from the inlet channel, cylinder walls and the mixing with the remaining, not exhaust" ed hot flue gas volume from the previous cycle which filled the compression chamber (Vc). As a mean volume: Ts = Ta + 50 K = 323 K ± 20 K.


Figure

Example:
- Diesel engine, ê = 21, Ts = 330 K, n = 1.3

Tc = Ts· en-1
Tc = 330 K·210.3 = 823 K (= 550 °C)

- Otto engine, ê = 8.5, Ts = 330 K, n = 1.35

Tc = 330 K· 8.50.35 = 698 K (= 425 °C)

3.1.9 Necessary Compression Chamber Volume, Vc

(Equ 3.8)

The equation relates all necessary parameters to the volume of the compression chamber and will be useful in cases where a change of compression ratio is required.

3.1.10 Process Efficiency,h

The efficiency of a process is given by the relation between the useful result and the effort made. In the case of an engine the result is the mechanical power (and the heat flow from cooling water/air and exhaust gas if utilized²), and the effort is the fuel energy consumed by the engine.

(Equ.3 9)

whereby the fuel energy flow/consumptionis given as

(Equ.3.10)

3.1.11 Specific Fuel Consumption, sfc

Another means of describing the efficiency of an engine is the specific fuel consumption, i.e. the fuel input on a mass or volume basis related to the mechanical energy output (Pm):

(Equ. 3.11)

The specific fuel consumption is often used in engine specifications rather than the efficiency to show the fuel economy of the engine. It differs between engine types and point of operation and is a function of the mean effective pressure, excess air ratio, engine speed, and point of ignition.


Fig. 3.3: Pressure, volume (p, v) diagram of a 4-stroke engine cycle

3.1.12 Mean Effective Pressure, pm,e

The mean effective pressure is a theoretical value, often used as a means to describe and compare engine performance and economy It is the theoretical pressure needed to be constantly effective onto the pistons on their way down from TDC to BDC to produce the actual
mechanical power of an engine:

(Equ. 3.12)

As in a thermodynamic cycle process the theoretical efficiency rises with the pressure, the actual efficiency or fuel economy of an engine will rise as a function of the mean effective pressure, hence the compression ratio and the cylinder filling.

3.1.13 The 4-stsoke Cycle Process in a p,v-Diagram (Fig. 3.3)

The area marked (+) in the diagram shows the work transmitted from the burning and expanding air/fuel mixture to the piston. The area marked (-) is the work that the piston delivers while expelling the burnt flue gas and sucking in fresh air or air/fuel mixture The process is often shown without the negative work in an idealized form.

3.2. Variable Process Parameters

3.2.1 Combustion of a Fuel in Air

The combustion of a fuel in a mixture with air (or actually oxygen O2) is an exothermal process in which the chemically bound energy of the fuel is released to generate heat energy while the chemical binding is changed and the combustion product remains at a lower level of energy. For the components of hydrocarbons (i.e. carbon C and hydrogen H) such as petrol, diesel fuel, methane, natural gas, etc. the combustion equations are given in the above table.

Compounds taking part in combustion

Combustion product

Heat energy released

Carbon:

C + O2

CO2

+406.9 kJ/kmol (Equ. 3.13)


C + O

CO

+123.8 kJ/kmol (Equ.3.14)³

Hydrogen:

H2 +½ O2

H2O

+242kJ/kmol (Equ.3.15)

The calorific value of a fuel is the sum of the heat energy released from its components at complete combustion. For the calorific values of various fuels refer to table in Appendix II.

For complete combustion a certain relation between the amount of fuel and of oxygen or air is required, the "stoichiometric ratio". Should the air/fuel ratio in a mixture be different from the stoichiometric ratio the combustion will be either incomplete at air shortage, or unutilized "excess air" will be present in the process. A very helpful parameter to describe an actually given air/ fuel ratio is the "excess air ratio" l:

(Equ. 3.16)

so that

l= 1

stoichiometric air/fuel ratio

l> 1

air excess (mixture lean)

l< 1

air shortage (mixture rich)

The best combustion performance will always occur at values near l = 1. Mixtures at values below l = 0.5 rich or above l = 1.5 lean usually do not properly ignite from an ignition spark. The supply of the right mixture of air and fuel is therefore of utmost importance for the performance of a spark ignition (Otto) engine. Diesel engines can however operate at high excess air ratios ( l= 1.5 . . . 4.0) as the fuel is injected into the combustion chamber in a liquid form and the combustion takes place around the circumference of the fuel spray droplets.

The droplets evaporate and mix with the surrounding air. At a certain distance from the core a stoichiometric mixture will automatically be established. This is where the combustion takes place.

In a still or laminar flowing gaseous air/fuel mixture the burning velocity has a maximum at l = 0.9 but decreases when the mixture is richer or leaner.

In order to adapt the velocity of the combustion process to the velocity of the engine cycle the point or crank angle at which ignition is initiated needs to be varied in relation to the excess air ratio. Lean mixtures with a slower burning velocity require an earlier (i.e. more advanced) point of ignition to ensure that the combustion pressure peak occurs at an optimum crank angle after the piston has passed TDC. Richer mixtures com-bust faster so that the ignition point should be retarded accordingly.

The further influences on the ignition timing are explained hereunder.


Fig. 3.4: Mean effective pressure Mme, combustion velocity cc and specific fuel consumption sfc as a function of excess air ratio l

3.2.2 Combustion Velocity and Ignition Timing

The velocity of the combustion of the air/ fuel mixture during one combustion stroke is essential for the performance of an IC engine. The time available for the (complete) combustion of the air/fuel mixture is extremely short, e.g. for an engine operating at a speed of n = 3000 min-1 the time for one combustion stroke is 1/100 s.

The combustion begins at its ignition source, either a spark-plug (Otto engine) or the spray droplets (diesel engine), and takes some time to fully develop. The pressure then develops in such a way that the pressure peak occurs shortly after the piston has reached TDC. The high pressure after TDC causes a high force onto the piston. The mean effective pressure, hence the work output, results from the course of the pressure between TDC and BDC. Premature ignition or too high pressure before TDC will consume extra work (or power) from the piston as it needs to compress against the burning and expanding gas mixture.

Delayed ignition or slow burning of the air/ fuel mixture will have the effect that the mixture still burns when the combustion stroke is finished and the exhaust valve opens. Not only will the valve get unnecessarily hot and may be damaged but a lot of fuel energy will be lost with the still burning exhaust gases. This part of the fuel energy cannot contribute to the production of mechanical energy.

The timing of spark ignition or injection of diesel fuel is found as a compromise between premature and delayed ignition, both resulting in a power loss. The timing as related to the burning velocity is however dependent on some operational parameters:

-engine speed n,
-engine load P,
-excess air ratio l (see Chapter 3.2.1),
-type of fuel used,
-pressure and temperature.

The combustion velocity of an air/fuel mixture rises significantly as a function of its actual temperature and pressure.


Fig. 3.5: Course of pressure as a function of the crank angle a (point) of ignition ai

3.2.3 Engine Speed

With increased engine speed the time for combustion becomes shorter, but the time for development of combustion and pressure does not similarly shorten. In order to prevent the pressure peak occurring too far behind TDC (pressure and power loss) the ignition point is advanced. This is usually done by a centrifugal force mechanism (not commonly used in stationary diesel engines).


Fig 3.6: Partial load (- - -) and full load (____)p, v-diagrams for Otto and diesel engine

3.2.4 Partial Load (Cylinder Filling)

The suction pressure in the cylinder is usually lower than the ambient pressure due to flow resistance in air filter, inlet valve and, in the case of an Otto engine, the position of the throttle for power control. When the throttle is in a controlled position it provides an additional depression which causes the suction pressure ps to decrease subsequently. The amount of air/fuel mixture on a mass basis filled into the cylinder will therefore be lower. This leads to a drop in mean effective pressure pm,e and power output.

The combustion velocity at lower cylinder filling rates and at lower pressures is also reduced so that in order to compensate the ignition timing needs to be further advanced in partial load (throttled) operation. This is done in relation to the suction pressure behind the throttle. A simple diaphragm is used to operate the advancing mechanism accordingly.

Low ambient pressures at higher altitudes have an effect similar to throttling so that the power output of an engine drops at a rate of about 10% for each 1000 m in altitude.

The partial load behavior of an Otto engine is characterized by the larger negative work needed to overcome the additional resistance of the throttle in the suction stroke. Diesel engines are not air-throttled in partial load, and hence only their pressure and power output is reduced. Otto engines therefore have the disadvantage of a reduced efficiency in partial load operation because of the reduced cylinder filling.

The cylinder filling is however further influenced by the flow resistance of the inlet manifold, duct and the inlet valve itself. Even at a 100% opening of the throttle valve the cylinder usually only receives a reduced amount (on a mass basis) of what it can theoretically contain, i.e. the mass that can be filled into the cylinder volume Vh at ambient conditions. Each engine type has, by its original design, a built-in "supply efficiency" (sometimes called "volumetric efficiency") defined as

(Equ. 3.17)

where m = mass of air or air/fuel mixture.

Unless the actual value for hvol is known, take hvol = 0.85 as an average value. The supply efficiency is essential for the determination of the actual air or air/fuel mixture sucked into the engine and the design of mixers for fuel gas and air. When an engine is operated at a lower than its rated speed the flow through the inlet is reduced, hence the flow resistance, so that the volumetric efficiency increases with an operational speed decrease.

3.2.5 Interdependence of Load and Speed

The actual point of operation of an engine is determined by the load (or power demand) and the power produced from the fuel input at a certain torque and engine speed. The point of operation is
established as a balance of power supply and power demand.

The power produced is not only a function of the amount of air and fuel supply, hence of the resulting effective pressure after combustion, but also of the actual engine speed (see Fig. 3.2 and
Equ. 3.3).

The power demand from a driven vehicle or a machine can be subject to changes. On the other hand the operator may wish to operate the vehicle or machine at another speed or power output. When the load rises, the speed of the engine will fall until the load also decreases and a new balance is. found. Should the load remain constantly high, the engine will further decrease speed and finally come to a halt. When the power demand decreases, the engine will increase its speed until an increase in power demand occurs. If the demand remains low, the engine can speed up and even be damaged unless the fuel input is reduced. Most driven machines however increase their power requirement with a speed increase and decrease it with a speed decrease. Subsequently with a change in power requirement the engine will then find its new balance and continue its operation at a different speed.

Some driven machine types perform sufficiently well even at a speed different from the exactly specified one (see Chapter 7.4). Others however need to operate at one single speed only. Should the load on the engine and subsequently the speed change, a change of fuel input to the engine can compensate for the change in load so that the engine continues operation at the speed required. When the load rises, an increase of fuel (or air/fuel mixture) is needed to cause an increase of the power output until the former speed is reached again. A decrease in load must accordingly be compensated by a decrease in fuel input. Most engine control systems use the change in speed to sense a change in load and operate the fuel supply system accordingly.

3.2.6 Type of Fuel Used

The burning or flame propagation velocity of an air/fuel mixture largely depends on the type of fuel used. Some gases, especially methane, have a slow burning velocity. This becomes visible in biogas cookers where the velocity of a slight air draft may be faster than the burning velocity and carry away the flame from the burner ring. Even though the burning velocity of an air/methane mixture under higher pressure and temperature is much higher than in atmospheric conditions, it is lower than the velocity of gasoline or diesel fuel mixtures with air.

In order to fully utilize the fuel energy during the combustion stroke and to achieve a good combustion process with the pressure peak optimally after TDC, it will be necessary to advance the ignition timing in Otto (spark ignition) engines when biogas is used. Changing the injection timing in diesel engines when operated with biogas requires a more difficult operation and can often not be done without modifying a few parts, e.g. gears. The operation would also have to be reversed in any case of biogas shortage where the proportion of diesel fuel increases accordingly.

3.3 Relevant Engine Types

In principle all internal combustion engines can be operated with liquid fuels (which are in vapor/gaseous form when they ignite) or with gaseous fuels. The given framework of this publication however calls for the narrowing of the scope of engines towards types that can be modified and operated with acceptable efforts:

-Power range to abt. 50 kW;
- Engines considered should be based on standard engine types produced in larger series;
-2-stroke engines, as the smaller types do not nave a very good reputation for long engine life and often use lubrication in a mixture with the liquid fuel. This excludes the use of a gaseous fuel. (Larger 2-stroke diesel engines range at power outputs of 500 kW and more and are usually individually projected and expensive units);

- No gas turbines as they are comparatively expensive and require sensitive operation and maintenance;
- No rotary piston (Wankel) engines because of generally bad reputation for reliability and engine life;
- No turbocharged engines because of their relatively sophisticated control systems.

The engine types to be considered here are therefore:

- Otto (gasoline) engines, 4-stroke;
- diesel engines, 4-stroke.

The specific features of these two engine types are explained in more detail in the following chapters. A comparative summary is given in Appendix III.


Fig. 3.7: 6-cylinder diesel engine, partly opened (MAN).

1 piston, 2 inlet valve, 3 cylinder, 4 combustion chamber, 5 connection rod, 6 injector nozzle, 7 suction mainfold, 8 oil filter, 9 outlet valve, 10 injector pump, 11 alternator,12 fuel filter, 13 cooling water pump.

3.3.1 Diesel Engines

3.3.1.1 The Diesel Process

The diesel engine and its process are shown in the diagrams Figs. 3.7 and 3.8. The engine sucks air at ambient conditions and compresses it to a pressure around 60 bar and above whereby the air reaches temperatures around 600°C. Shortly before the piston reaches TDC, fuel is injected and ignites immediately at these conditions. An external source for ignition is usually not necessary. Only at low ambient temperatures a"glow plug" is sometimes used to facilitate the start-up. The point or crank angle £i of injection is chosen (£i about 25°) considering that the pressure rise through combustion reaches a peak shortly after the piston has passed TDC.


Fig. 3.8: Simplified p, v-diagram of a diesel process

3.3.1.2 Operational Parameters and Control

In a diesel engine the air/fuel mixture is prepared within the cylinder by the injection of a certain amount of diesel fuel into the air during its compression by the piston. The spray droplets ignite immediately when they come into contact with the hot air. The point or crank angle £i of ignition is almost identical with the crank angle of injection, usually around 25° before TDC (Fig. 3.9).


Fig. 3.9: Courses of fuel injection, combustion and pressure as a function of the crank angle a

In the first phase (I) injection of fuel begins but some time is needed for part of the fuel to evaporate and form a combustible air/fuel mixture. In the second phase (II) the fuel begins to ignite while the injection still continues. The start of combustion results in a sharp increase in heat and pressure. In the third phase (III) the combustion of the more slowly combusting parts, mainly the carbon components, takes place.

The diesel fuel is injected by the injection system, an example of which is shown in Figs. 3.10 and 3.11.


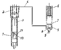
Fig.3.10: Principal scheme of injection system (numberscorespond to text).


Fig. 3.11: Diesel injector pump (Bosch).

1 valve holder, 2 filling piece, 3 valve spring, 4 pump cylinder, 5 valve, 6 suction and control bore, 7 oblique control edge, 8 plunger, 9 control bush, 10 plunger lug, 11 piston sprig, 12 sprig holder, 13 roller shaft, 14 cam, 15 control rack.

The plunger (Fig. 3.10) is moved up and down by a camshaft which is in direct gear with the crankshaft of the engine in order to forward the fuel at the required crank angle. When the plunger (1) is pushed upwards, the fuel is pressed against a valve (3) which is springloaded (2) and moves against the spring to open, passes the injector pipe (4) and enters the injector (5). As pressure rises in the space underneath the injector needle (7), which is also springloaded (6), the needle moves upwards from its seat (8) and fuel passes the fine bores (9) to enter the cylinder in a well distributed spray.

Control of engine power is effected by variation of the amount of fuel injected. The plunger (1) can be turned so that when it is moved upwards the oblique pitch of the control edge will give way to the fuel intake bore (11) according to its axial and angular position. As soon as the pitch of the control edge has reached and opened the bore (11) the injection pipe and nozzle are rendered pressureless and the injector needle (7) immediately closes the spray jets. In a multicylinder engine all plungers are connected to a common rack and are turned simultaneously for control.

The speed control is effected using the above mechanism within the injection pump and a mechanically controlled governor (centrifugal weights). As long as the required engine speed is not yet reached, the plungers supply the maximum amount of fuel to the injectors so that the engine power, and hence the speed, increases (unless engine is overloaded). As it reaches the required speed the governor operates the rack, the plungers are turned and reduce the amount of fuel injected until power and speed are balanced as required. When the load increases further, the speed will automatically drop, but a small decrease in speed effects a change in the governor which operates the rack in such a way that more fuel is injected until the required speed is reached again. For a decrease in power the system works accordingly.

All diesel engines are equipped with governors. The governor can be tuned, modified or even disconnected from the injector pump when the engine shall be operated to run on other fuels. Such modification however requires careful handling and sufficient experience and expertise. A more detailed description of diesel engine modifications is given in Chapter 5.

In order to maintain the required conditions (p, t) after compression the airflow at the inlet to the diesel engine is not controlled, i.e. there is no throttle or choke. A throttling or decrease in suction pressure would lead to a decrease in pressure after compression and to a decrease in temperature (see Equ. 3.6/3.7). This would have a negative effect on the combustion, the mean effective pressure Pm,e and the control. In extreme cases it could even make the necessary self" ignition impossible. Diesel engines therefore always have unthrottled air inlets, also when operated with gas in "dual fuel" mode.

Due to the higher compression ratio (e = 16 . . . 22) diesel engines operate at a relatively high efficiency, i.e. htot = 0.3 . . . 0.4, and low specific fuel consumption, i.e. sfc = 250 . . . 300 g/kWh at rated conditions. Diesel engines, unlike Otto engines, enjoy a comparatively high efficiency in partial load operation also, i.e. the specific fuel consumption does not significantly increase in partial load. They are therefore very suitable for operation under conditions of varying power demands. They also enjoy long engine life such as 20 000 . . . 30 000 hours or even longer before-an overhaul is necessary and are found on the market in standard series and large numbers for stationary and vehicle purposes.

Diesel engines are designed according to different philosophies concerning the combustion and combustion chamber forms (Fig. 3.12).


Fig. 3.12: Different combustion chamber forms and methods of fuel injection.
a) swirl chamber, b) antechamber, c) direct injection, d) MAN method

The direct injection type can be best modified to use (bio)gas as
- the compression ratio is relatively low (e = 17); a higher compression ratio would lead to higher temperatures at which the gas/ air mixture could self-ignite in an uncontrolled manner at the wrong time and severely affect the performance and life of the engine,
- the even shape of the combustion chamber is optimal for gas/air combustion.
- conversion to Otto process is eased by an advantageous position for the spark plug (i.e. former position of injector nozzle) and by an easily executed reduction of the compression ratio to values of c - 10 . . . 12. For a more detailed description of diesel engine modification refer to Chapter 5.

3.3.2 The Otto Engine

3.3.2.1 The Otto Process

The Otto engine and its process are shown in Figs. 3.13 and 3.14.

The Otto engine sucks a readily composed mixture of air and fuel.
The mixture is compressed to pressures around 20 bar and temperatures around 400 °C (see Equ. 3.7). At these conditions the mixture cannot selfignite. A spark plug is used to ignite the mixture at a suitable moment or crank angle before TDC for optimum performance.


Fig. 3.13: Otto engine, partly opened (BMW).

1 piston, 2 inlet valve, 3 cylinder, 4 combustion chamber, 5 connection, 6 overhead camshaft, 7 crankshaft bearing, 8 flywheel, 9 distributor, 10 suction from air filter, 11 suction mainfold, 12 carburetor, 13 starter motor, 14 generator, 15 oil filter.

3.3.2.2 Operational Parameters and Control

Otto engines in vehicles are usually operated at varying conditions of speed and load. In order to keep performance optimal at all conditions the point of ignition is changed in relation to engine speed and suction pressure. The crank angle can vary as much as from 7° before TDC to 40° before TDC according to the actual point of operation.


Fig. 3.14: Simplified p, v-digram of an Otto process

If a liquid fuel is used, the air/fuel mixture is usually prepared in a carburetor. The carburetor by its design ensures an almost constant air/fuel ratio at any airflow rate. The power and speed control of the engine is effected through a throttle valve integrated into the carburetor housing which allows the varying of the inlet mass flow of the mixture by its degree of opening. The throttle valve causes a certain pressure drop of the mixture due to which the cylinder filling is reduced on a mass basis (the volume flow remains constant). The pressure drop at the throttle valve causes a subsequent drop in the suction and mean effective pressure, hence a drop in power and efficiency. Otto engines therefore have a higher specific fuel consumption in partial load than diesel engines where the airflow is not throttled and the Pm,e is only affected by the amount of fuel injected. Otto engines should preferably be operated in a slightly throttled or unthrottled mode for optimum fuel economy, especially in continuous service.

Another alternative for the preparation of the air/fuel mixture is the injection of liquid fuel into the suction channel where it mixes with the airstream before entering the cylinder. The amount of fuel injected is related to the amount of air sucked into the engine and electronically controlled. The airflow is controlled via an air throttle valve. Injection systems are more sophisticated than carburetion systems but provide a more accurate relation between engine operation and fuel mixture through electronic control' and hence better fuel economy. Direct fuel injection is not very common in Otto engines.

As mentioned before, the actual air/fuel ratio is an important parameter for the engine performance. Excess air ratios near l = 1 are required whereby at
- l = 0.9 the power produced is at a maximum but a certain percentage of incomplete combustion has to be taken into account
(i.e. formation of toxic CO).
- l = 1.1 . . . 1.15 the fuel economy is at a maximum; the CO content in the exhaust gas is almost zero. Nitrogen oxide NOX increases however (toxic).
- l = 1.3 the mixture loses ignitability.

3.3.2.3 Design Parameters

The compression ratio of an Otto engine is a function of the fuel used. Higher compression ratios result in higher temperatures of the air/fuel mixtures. This may cause uncontrolled self-ignition and an uneven combustion process, both disadvantages for engine performance and life span. Usual compression ratios are

- for standard petrol: ê = 7 . . . 8.5
- for superpetrol: ê = 8.5 . . . 9.5
- for gas (CH4, LPG): ê = 10 . . . 12

Compression ratios higher than e = 12 are not recommended as

- accurate spark plug function cannot be assured and
- fuels such as LPG and natural gas tend to self-ignite at higher pressures, depending on their composition.

With the lower compression ratio than a diesel engine the mean effective pressure of an Otto engine is lower, as is its overall efficiency. Values of h = 0.25 . . . 0.32 are common. As an Otto engine for a vehicle can operate at higher speeds, its power output in relation to its displaced volume is however higher than that of a similarly sized diesel engine. While an Otto engine appears cheaper at first sight, it will have a shorter life expectancy.

3.3.2.4 Gas Otto Engine

Gas Otto engines are designed for a variety of gaseous fuels. Specific types with a higher compression ratio than e = 12 for the use of methane alone are not found on the market. The point of ignition and the mixing devices will however have to be adapted for the type of gas, mainly its calorific value.

Gas Otto engines receive their air/gas mixtures from gas mixing valves, venturi mixers or, in the simplest case, gas mixing chambers. Apart from the different type of air/fuel mixing system they follow the same criteria and parameters as Otto engines for liquid fuels.

Gas mixing valves coordinate the supply of both air and gas by a diaphragm that opens the air and gas inlets in relation to the pressure in the space between throttle valve and air inlet. The air/fuel ratio is determined by the size of the internal openings for air and for fuel respectively. Fine calibration can be achieved by changing the pressure, hence mass flow, with the help of an adjustable throttle at the gas inlet. The gas pressure at the inlet to the mixing valve is usually low (20 . . . 50 mbar). Gas supply from sources with higher pressure, i.e. Iiquid or compressed gas from storage cylinders, will have to be reduced by reduction valves before entering the mixing valve.

Venturi mixers utilize the velocity increase and subsequent pressure reduction in a flow through a tube with a contraction. The pressure at the smallest cross-section area is a function of the air velocity, hence the air volume flow. Fuel gas enters and mixes with the airstream at the smallest cross-section (the "bottleneck"). An almost constant air/ fuel ratio is thus achieved.
A more detailed description as well as design parameters are given in Chapter 6.

Mixing chambers are the simplest devices for mixing air and fuel. The chamber can either be a simple T-joint of two tubes or can be a chamber of a larger volume with one inlet each for air and fuel gas and an outlet for the mixture of both. However, air and fuel are not supplied in a constant ratio independent of the suction of the engine, but have to be controlled by external valves. Such mixing devices can therefore not easily be used for automatic speed and power control but can function in a fixed setting if the engine is operated at one steady condition only.

In principle every Otto engine can be operated on gas. The conversion of a petrol engine into a gas engine is often done when gas, mainly LPG, is found to be cheaper than petrol or for lift trucks operated inside storage halls (fuel gas is less contaminated than petrol fuel and produces a less dangerous exhaust gas). The modification is described in more detail in Chapter 6.

TO PREVIOUS SECTION OF BOOK TO NEXT SECTION OF BOOK

CD3WD Project Donate