Back to Home Page of CD3WD Project or Back to list of CD3WD Publications

CLOSE THIS BOOKEngines for Biogas (GTZ, 1988, 133 p.)
VIEW THE DOCUMENT(introduction...)
VIEW THE DOCUMENTCopyright
VIEW THE DOCUMENTPreface
VIEW THE DOCUMENT1. Scope of this publication
VIEW THE DOCUMENT2. Review of existing literature
3. Essential theory on internal combustion engines
4. Biogas and its Properties as a Fuel for Internal Combustion Engines
5. The Gas Diesel Engine
6. The Gas Otto Engine
7. Planning a biogas engine system
8. Utilization of the engine's ''Waste'' heat
VIEW THE DOCUMENT9. Biogas for vehicles
10. Overview of Commercially Available Systems
VIEW THE DOCUMENTLiterature
VIEW THE DOCUMENTAppendix I
VIEW THE DOCUMENTAppendix II
VIEW THE DOCUMENTAppendix III
VIEW THE DOCUMENTAppendix IV
VIEW THE DOCUMENTAppendix V

Appendix IV

Design Drawings of a Venturi Mixer for Self-Manufacture (Example)


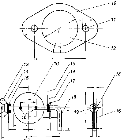
Fig. 1: Venturi mixer parts 1 Mixer body (tube), 2 Bore for venturi ring holder bolt, 3 Bore for butterfly valve shaft, 4 Bore for gas supply pipe connection (brazed, welded), 5 Venturi ring, 6 Calibrated bores for gas inlet, 7 Gas supply ring channel, 8 Groove for seal ring (O-ring), 9 Bore for venturi ring holder bolt; all dimensions according to calculations and engine inlet size (refer to Chapter 6).


Fig. 2: Venturi mixer parts, continued. 10 Connection flange, 11 Bore for connection bolts to engine and air filter, 12 Bore for connection of mixer body (brazed, welded), 13 Wing nut for fixing the butterfly valve shaft, 14 Washer, 15 Rubber/plastic seal ring, 16 Butterfly valve, 17 Washer fixed to butterfly valve shaft, 18 Butterfly valve shaft cum control lever, 19 Small bolts for fixing butterfly to shaft.


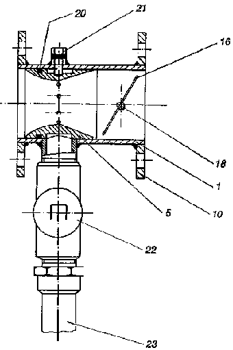
Fig. 3: Venturi mixer assembly

20 Venturi seal ring (0-ring), 21 Venturi holder bolt and nut, 22 Gas inlet valve, 23 Gas supply pipe

TO PREVIOUS SECTION OF BOOK TO NEXT SECTION OF BOOK

CD3WD Project Donate